Werkstoff: Grauguss EN-GJL-250, phosphatiert.
Keilriemenscheiben für Taper-Spannbuchsen, zur schnellen und einfachen Montage. Die Taper-Spannbuchse muss separat bestellt werden. In Anlehnung an DIN 2211 bzw. DIN 2217 bzw. ISO 4183, zur Verwendung mit klassischen Keilriemen DIN 2215 und Schmalkeilriemen DIN 7753-1 / ISO 4184. Auch verwendbar für Keilriemen 5V/15N nach ARPM/MPTA. Der Nenndurchmesser D1 ist der Wirkdurchmesser.

1) Ø 100-106mm nicht für Keilriemen SPB, XPB und 5V/15N.
2) Ø 112-132mm nicht für Keilriemen SPB und 5V/15N.


Im Zuge der Sortimentserweiterung dieser Produktgruppe wurden neue Teilenummern vergeben. Hier erhalten Sie eine vollständige Übersicht der bisherigen und neuen Artikelnummern:

Übersicht Nachfolger Taper-Keilriemenscheiben

Service:

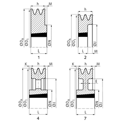
Katalogseite

Zusätzliche Informationen

Montageanleitung



Die angebotenen CAD-Daten, Abbildungen und technischen Zeichnungen werden mit größtmöglicher Sorgfalt erstellt.
Dennoch kann keine Gewährleistung für die Fehlerfreiheit und Genauigkeit dieser Daten übernommen werden.

( freibleibend aus Lagervorrat / kurzfristig lieferbar / Lieferzeit nach Vereinbarung. Bitte fragen Sie nach. )
Artikel Menge Bisherige ArtikelnummerRillen-AnzahlNenn-Ø D1
[mm]
Ø DA
[mm]
AusführungTaper-Buchse
[Nr.]
Bohrung
[mm]
E
[mm]
h
[mm]
J
[mm]
K
[mm]
L
[mm]
M
[mm]
N
[mm]
Gewicht ca.
[kg]
MAE 151-B-2-100
155210002100 1)10781610 12 - 42 -44621925--1,30
MAE 151-B-2-106
2106 1)11381610 12 - 42 -44671925--1,50
MAE 151-B-2-112
155211002112 2)11981610 12 - 42 -44721925--1,75
MAE 151-B-2-118
2118 2)12521610 12 - 42 -4478-2519-1,80
MAE 151-B-2-125
155212002125 2)13222012 12 - 50 -4482-3212-2,00
MAE 151-B-2-132
2132 2)13922012 12 - 50 -4489-3212-2,35
MAE 151-B-2-140
15521400214014722012 12 - 50 -4497-3212-2,70
MAE 151-B-2-150
215015722012 12 - 50 -44107-3212-3,30
MAE 151-B-2-160
15521600216016722012 12 - 50 -44117-3212-4,00
MAE 151-B-2-170
217017722012 12 - 50 -44127-3212-4,50
MAE 151-B-2-180
15521800218018712517 15 - 65 -44--4511205,50
MAE 151-B-2-190
219019712517 15 - 65 -44--4511206,44
MAE 151-B-2-200
155220002200207142517 15 - 65 -44160-4511205,36
MAE 151-B-2-212
2212219142517 15 - 65 2044169-4511177,00
MAE 151-B-2-224
155222002224231142517 15 - 65 1544181-4511176,69
MAE 151-B-2-236
2236243142517 15 - 65 1544193-4511178,40
MAE 151-B-2-250
155225002250257142517 15 - 65 2044207-4511258,50
MAE 151-B-2-280
155228002280287142517 15 - 65 2044237-4511258,00
MAE 151-B-2-300
2300307142517 15 - 65 2044257-4511255,85
MAE 151-B-2-315
155231002315322142517 15 - 65 2044272-45112513,2
MAE 151-B-2-335
2335342142517 15 - 65 2044292-45112514,0
MAE 151-B-2-355
235536273020 20 - 75 15443123,5513,514415,9
MAE 151-B-2-400
15524000240040743020 20 - 75 -443573,5513,515016,0
MAE 151-B-2-450
245045743020 20 - 75 -444073,5513,515017,0
MAE 151-B-2-500
250050743020 20 - 75 -444573,5513,515019,0
MAE 151-B-2-560
256056743030 30 - 75 -4451716761615024,0
MAE 151-B-2-630
263063743030 30 - 75 -4458716761615025,0


zur Gruppe


Impressum AGB Hilfe Datenschutzerklärung Index


MÄDLER on Facebook Facebook MÄDLER on Youtube YouTube MÄDLER on X X MÄDLER on Instagram Instagram MÄDLER on Xingk Xing MÄDLER on Linkedin LinkedIn