Werkstoff: Grauguss EN-GJL-250, phosphatiert.
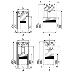
Keilriemenscheiben für Taper-Spannbuchsen, zur schnellen und einfachen Montage. Die Taper-Spannbuchse muss separat bestellt werden. In Anlehnung an DIN 2211 bzw. DIN 2217 bzw. ISO 4183, zur Verwendung mit klassischen Keilriemen DIN 2215 und Schmalkeilriemen DIN 7753-1 / ISO 4184. Der Nenndurchmesser D1 ist der Wirkdurchmesser.

1) Ø 200-212mm nicht für Keilriemen SPC.

Service:

Katalogseite

Zusätzliche Informationen

Montageanleitung



Die angebotenen CAD-Daten, Abbildungen und technischen Zeichnungen werden mit größtmöglicher Sorgfalt erstellt.
Dennoch kann keine Gewährleistung für die Fehlerfreiheit und Genauigkeit dieser Daten übernommen werden.

( freibleibend aus Lagervorrat / kurzfristig lieferbar / Lieferzeit nach Vereinbarung. Bitte fragen Sie nach. )
Artikel Menge Rillen-AnzahlNenn-Ø D1
[mm]
Ø DA
[mm]
AusführungTaper-Buchse
[Nr.]
Bohrung
[mm]
E
[mm]
h
[mm]
J
[mm]
K
[mm]
L
[mm]
M
[mm]
N
[mm]
Gewicht ca.
[kg]
MAE 151-C-4-200
4200 1)209,633020 20 - 75 -111144305130-11
MAE 151-C-4-212
4212 1)221,633020 20 - 75 -111156305130-13
MAE 151-C-4-224
4224233,633535 30 - 90 -111168118911-16
MAE 151-C-4-236
4236245,633535 30 - 90 -111180118911-16
MAE 151-C-4-250
4250259,633535 30 - 90 -111194118911-22,5
MAE 151-C-4-265
4265274,633535 30 - 90 -111209118911-26
MAE 151-C-4-280
4280289,663535 30 - 90 1811122411891117521,6
MAE 151-C-4-300
4300309,663535 30 - 90 2011124411891117525,5
MAE 151-C-4-315
4315324,663535 30 - 90 2011125911891117524,8
MAE 151-C-4-335
4335344,663535 30 - 90 2011127911891117528,6
MAE 151-C-4-355
4355364,663535 30 - 90 2011129911891117530,5
MAE 151-C-4-375
4375384,663535 30 - 90 2511131911891117533,5
MAE 151-C-4-400
4400409,663535 30 - 90 1811134411891117535,5
MAE 151-C-4-425
4425434,663535 30 - 90 1811136911891117539,5
MAE 151-C-4-450
4450459,653535 30 - 90 -11139411891117541,5
MAE 151-C-4-475
4475484,653535 30 - 90 -11141911891117545
MAE 151-C-4-500
4500509,653535 30 - 90 -11144411891117546
MAE 151-C-4-530
4530539,654040 40 - 100 -1114744,51024,521054
MAE 151-C-4-560
4560569,654040 40 - 100 -1115044,51024,521059
MAE 151-C-4-630
4630639,644545 55 - 110 -1115741,51141,524275
MAE 151-C-4-710
4710719,645050 70 - 125 -1116548127826780
MAE 151-C-4-800
4800809,645050 70 - 125 -11173781278267144
MAE 151-C-4-1000
410001009,645050 70 - 125 -11193781278267140,5
MAE 151-C-4-1250
412501259,645050 70 - 125 -111118781278267175


zur Gruppe


Impressum AGB Hilfe Datenschutzerklärung Index


MÄDLER on Facebook Facebook MÄDLER on Youtube YouTube MÄDLER on X X MÄDLER on Instagram Instagram MÄDLER on Xingk Xing MÄDLER on Linkedin LinkedIn